Russian Federation
VAK Russia 08.00.05
VAK Russia 08.00.10
VAK Russia 08.00.12
VAK Russia 08.00.13
VAK Russia 08.00.14
UDC 33
Due to the economic downturn and high competition in the market, business structures are constantly looking for ways to optimize financial resources, as well as ways to increase their profits. Thus, a number of business structures use outsourcing as one of the effective tools for managing their resources. The transfer of individual business processes can allow the entrepreneurial structure to focus on strategically important areas of activity, due to which the profit of the entrepreneurial structure can be increased. According to the author's observations, the functioning of any business structures in the conditions of the economic crisis and the situation that has developed in connection with the spread of the new coronavirus infection COVID-19, outsourcing is a very relevant tool to increase competitiveness in the market. The article discusses the developed algorithm for making management decisions on the use of outsourcing by entrepreneurial structures. The process of making management decisions regarding the use of outsourcing is associated with a number of risks. The algorithm proposed by the author can help to minimize the risks arising when making a managerial decision on the use of outsourcing by entrepreneurial structures.
outsourcing, algorithm, management decisions, risk management, business structures
Введение
В зависимости от того, какая стратегическая цель ставится предпринимательскими структурами, формулируются задачи для достижения поставленной цели. Среди стратегических целей предпринимательских структур можно выделить такие как минимизация затрат, повышение эффективности выполнения отдельных бизнес-процессов и другие.
При принятии управленческих решений стратегических целей предпринимательские структуры применяют различные способы и методы выполнения поставленных задач, однако они всегда связаны с ресурсами предпринимательских структур. Наличие и объемы ресурсов, которыми располагают предпринимательские структуры, непосредственно связано с формулированием как количественных, так и качественных стратегических целей в части применения аутсорсинга предпринимательскими структурами.
К числу количественных стратегических целей применения аутсорсинга предпринимательскими структурами, основанных на непосредственном получении экономических выгод, можно отнести такие как сокращение операционных расходов по отдельным бизнес-процессам; увеличение рентабельности продаж; увеличение доли, занимаемой на рынке; увеличение объема выпуска продукции. К качественным стратегическим целям применения аутсорсинга предпринимательскими структурами можно отнести повышение уровня квалификации специалистов, ответственных за отдельные бизнес-процессы; получение доступа к новейшим технологиям и специализированному оборудованию для выполнения отдельных бизнес-процессов. Достижение данных стратегических целей предпринимательские структуры могут отследить на основе анализа финансовых результатов и экономических показателей деятельности предпринимательских структур.
Выполнение задач, сформулированных предпринимательскими структурами в рамках той или иной стратегической цели, характеризуется применением экономических методов управления для решения определенных задач. Некоторые задачи, сформулированные в процессе принятия управленческого решения по применению аутсорсинга предпринимательскими структурами, имеют рекомендательный характер.
Однако, для достижения поставленных стратегических целей и выполнения, поставленных в рамах данных целей, задач, по мнению автора, предпринимательским структурам при принятии управленческих решений в отношении аутсорсинга следует воспользоваться предложенным комплексным подходом, который выражен в обобщенном алгоритме принятия управленческих решений по применению аутсорсинга.
Результаты
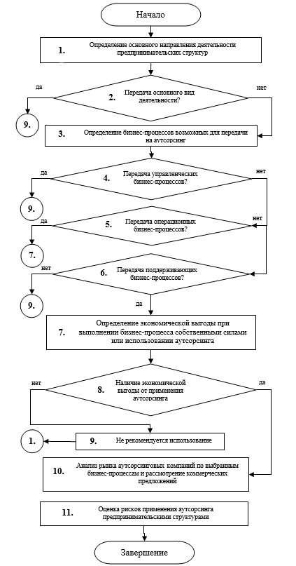
В рамках реализации технологии принятия управленческих решений по применению аутсорсинга автор рекомендует воспользоваться обобщенным алгоритмом принятия управленческих решений в отношении аутсорсинга и целесообразности его применения предпринимательскими структурами в своей деятельности (рисунок 1).

Рисунок 1 – Обобщенный алгоритм принятия управленческих решений в отношении аутсорсинга и оценки целесообразности его применения предпринимательскими структурами. Составлено автором
Разработанный автором обобщенный алгоритм принятия управленческих решений по применению аутсорсинга предпринимательскими структурами может послужить комплексным подходом и позволить совместить преимущества количественных [5, 6] и качественных подходов [7] оценки целесообразности применения аутсорсинга предпринимательскими структурами в отношении отдельных бизнес-процессов [1].
Обобщенный алгоритм, предложенный автором, сочетает в себе как качественные подходы к оценке целесообразности применения аутсорсинга предпринимательскими структурами, которые анализируются при помощи графических методов [5], так и количественные подходы [7] к оценке целесообразности применения аутсорсинга предпринимательскими структурами, на основе которых представляется возможным проанализировать числовые показатели при применении экономических (расчетных) методов.
Обсуждение
В основе успешного внедрения механизма аутсорсинга [4] лежит взвешенное и экономически обоснованное управленческое решение. Предпринимательским структурам, принимая управленческие решения по применению аутсорсинга в своей деятельности, следует иметь осознанное понимание ряда аспектов. К числу таких аспектов предоставляется возможным отнести понятие и сущность аутсорсинга; цели и последствия для предпринимательских структур применения аутсорсинга; целесообразность применения предпринимательскими структурами аутсорсинга в отношении отдельных бизнес-процессов; понимание технологии принятия управленческих решений применения аутсорсинга предпринимательскими структурами; идентификация потенциально возможных рисков применения аутсорсинга и возможные пути их минимизации.
По мнению автора, управленческое решение по применению аутсорсинга – это результат управленческой деятельности предпринимательских структур, отражающий выбор определенного варианта действий, посредствам выявления и оценки альтернатив в отношении возможности применения аутсорсинга предпринимательскими структурами в своей деятельности, включая этапы подготовки, принятия и реализации управленческих решений в отношении аутсорсинга.
Кроме этого, по мнению автора, принимаемое предпринимательскими управленческое решение по применению аутсорсинга предпринимательскими структурами признается, в случае если оно соответствует ряду критериев:
управленческое решение обоснованно, то есть принимаемое управленческое решение учитывает влияние всех факторов и выбрано из числа возможных альтернатив;
управленческое решение реально, то есть предпринимательские структуры способные реализовать принимаемое решение;
управленческое решение своевременно, то есть предпринимательские структуры принимают данное решение в тот момент времени, когда оно актуально;
управленческое решение гибко, то есть принимаемое управленческое решение носит гибкий характер, позволяющий внести корректировки в процедуру его реализации в связи с изменениями внешней и внутренней среды;
управленческое решение принесет экономическую выгоду, т.е. результат, полученный от реализации данного управленческого решения, позволит окупить расходы, произведенные при реализации решении, а также принесет прибыль предпринимательским структурам.
На начальном этапе принятия управленческих решений предпринимательские структуры, как правило, рассматривают аутсорсинг в качестве альтернативы достижения стоящих перед ними стратегических целей. По мнению автора, предпринимательским структурам для начала следует провести анализ внутренних ресурсов с учетом выявления скрытых резервов, затем сопоставить внутренние и внешние альтернативы и при выявлении собственных возможностей и ресурсов рекомендуется отказаться от аутсорсинга, пойдя по пути внутрикорпоративных преобразований [8].
Однако, если по итогам проведенного анализа предпринимательским структурам не удалось выявить необходимые ресурсы или данные ресурсы принесут предпринимательским структурам большую экономическую выгоду при их перераспределении между отдельными бизнес-процессами, то следует перейти к следующему этапу предложенного автором алгоритма, в рамках авторской технологии принятия управленческих решений по применению аутсорсинга предпринимательскими структурами.
При более подробном рассмотрении алгоритма принятия управленческих решений в отношении применения аутсорсинга предпринимательскими структурами рекомендуется придерживаться ряда этапов, представленных на рисунке 2.

Рисунок 2 – Этапы технологии принятия управленческих решений в отношении применения аутсорсинга и оценки целесообразности его применения предпринимательскими структурами. Составлено автором
Автор считает, что предпринимательских структуры при осуществлении своей деятельности осуществляют основной и дополнительные виды деятельности согласно Общероссийскому классификатору видов экономической деятельности. Четкое понимание основных и дополнительных видов деятельности помогут предпринимательским структурам определить экономически значимые направления их деятельности, а также сопоставить их со стратегическими целями формирования и развития предпринимательских структур.
На следующем этапе представленного алгоритма принятия управленческих решений по применению аутсорсинга предпринимательские структуры могут выявить потенциально возможные для передачи на аутсорсинг отдельные бизнес-процессы на основе условной классификации всех бизнес-процессов предпринимательских структур на управляющие, операционные и поддерживающие бизнес-процессы.
Выявленные предпринимательскими структурами бизнес-процессы рекомендуется оценить с точки зрения значимости для достижения поставленных стратегических целей.
На третьем этапе обобщенного алгоритма принятия управленческих решений в отношении аутсорсинга и оценки целесообразности его применения предпринимательскими структурами, по мнению автора, следует определить наличия экономических выгод использования собственных ресурсов для выполнения выявленных бизнес-процессов. Для этого можно провести сравнительный анализ себестоимости отдельного бизнес-процесса, в случае если предпринимательские структуры задействуют собственные ресурсы для его выполнения или прибегнут к ресурсам аутсорсинговой компании, которая возьмет на себя обязательства по выполнению данного бизнес-процесса. Если экономическая выгода от применения аутсорсинга в отношении данного бизнес-процесса будет больше 0, то данный бизнес-процесс рекомендуется передать на аутсорсинг. В случае если экономическая выгода будет меньше 0, то целесообразнее данный бизнес-процесс выполнять собственными силами предпринимательской структуры [1].
На данном этапе предпринимательские структуры смогут принять предварительное управленческое решение в отношении применения аутсорсинга, которое будет носить рекомендательный характер.
Затем на следующем этапе предпринимательским структурам следует проанализировать рынок аутсорсинговых компаний, специализирующихся на выбранном бизнес-процессе. Кроме этого, на данном этапе следует провести оценку и осуществить выбор потенциальных аутсорсинговых компаний, с которыми предпринимательские структуры смогут заключить договор аутсорсинга. В этом предпринимательским структурам может помочь комплекс мероприятий, которые направлены на выбор потенциальных партнеров, а также выполнение требований, предъявляемых предпринимательскими структурами аутсорсинговым компаниям и результатам выполнения передаваемых бизнес-процессов.
Кроме этого, предпринимательским структурам рекомендуется идентифицировать и оценить потенциально возможные риски при передаче отдельного бизнес-процесса на аутсорсинг.
Выводы
Разработанный автором обобщенный алгоритм принятия управленческих решений применения аутсорсинга предпринимательскими структурами может послужить комплексным подходом, совмещающим в себя ряд существующих подходов. Сравнительный анализ существующих подходов к оценке целесообразности применения аутсорсинга предпринимательскими структурами показал, что существующие подходы направлены на формирование управленческих решений по применению аутсорсинга, отбор бизнес-процессов и их состав для передачи на аутсорсинг, анализ целесообразности применения механизма аутсорсинга предпринимательскими структурами. Исследование позволило выявить, что на их основе не представляется возможным сделать однозначный вывод об эффективности принимаемых предпринимательскими структурами управленческих решений по применению аутсорсинга.
Однако, предпринимательским структурам следует помнить и о том, что существует немало рисков, возникающих при внедрении механизма аутсорсинга в свою деятельность. В ходе принятия управленческих решений предпринимательским структурам по применению аутсорсинга стоит учитывать возможные риски. Они выступают в качестве ограничений применения аутсорсинга предпринимательскими структурами.
1. Anikin, BA Outsourcing and outstaffing: high management technologies [Text] / BA Anikin, IL Rudaya. - M .: INFRA-M, 2009 .-- 320 p.
2. Gribanov, A.V. Increasing the competitiveness of an entrepreneurial structure based on the organization of outsourcing: author. diss. ... Cand. econom. sciences. - SPb., 2005 .-- 18 p.
3. Grunichev, Yu.A. Research and development of a methodology for assessing the economic efficiency of outsourcing and insourcing of IT services: diss. ... Cand. econom. sciences. - Moscow, 2010 .-- 206 p.
4. Kurbatov, A. Kh. Outsourcing: history, methodology, practice [Text] / A. Kh. Kurbatov, V. A. Plotnikov. - M .: INFRA-M, 2013 .-- 112 p.
5. Kurbanov, A.Kh. Methodology for assessing the feasibility of using outsourcing [Electronic resource] / A. Kh. Kurbatov // Modern problems of science and education. - 2012. - No. 1. - Access mode: https://science-education.ru/pdf/2012/1/138.pdf.
6. Mukhina, I.S. On the question of the expediency of using outsourcing by an organization [Text] / I.S. Mukhina // Siberian financial school. - N .: Siberian Academy of Finance and Banking, 2010. - No. 3 (80). - S. 143-148
7. Mukhina, I.S. Analysis of existing approaches to assessing the effectiveness of outsourcing use [Text] / I.S. Mukhina // Siberian financial school. - N .: Siberian Academy of Finance and Banking, 2008. - No. 6. - S. 111-115.
8. Harrington, D. Optimization of business processes [Text] / D. Harrington, K.S. Esseling, H.V. Nimwegen. - M .: Azbuka, 2002 .-- 171 p.
9. Khlebnikov, D. Outsourcing as a tool to reduce costs and optimize a business system. [Electronic resource] / D. Khlebnikov // - Access mode: http://www.iteam.ru/publications/strategy/section_16/article_222 / (date of access: 23.08.2019).
10. Willcocks L., Fitzgerald G., Feeny D. Outsourcing IT: the strategic implications // long range planning. 1995. Vol. 28 (5). P. 59-70



