Батайск, Ростовская область, Россия
Ростов-на-Дону, Ростовская область, Россия
Ростов-на-Дону, Ростовская область, Россия
с 01.01.2017 по настоящее время
станица Ленинградская, Краснодарский край, Россия
Ростов-на-Дону, Ростовская область, Россия
ГРНТИ 67.09 Строительные материалы и изделия
ГРНТИ 67.01 Общие вопросы строительства
ОКСО 08.04.01 Строительство
ББК 383 Строительные материалы и изделия
ББК 308 Монтаж, эксплуатация, ремонт машин и промышленного оборудования
ТБК 5415 Строительные материалы и изделия. Производство стройматериалов
Статья посвящена вопросу механизма дрейфа заполнителей при сепарации составляющих бетонной смеси. Бетонная смесь рассматривается как тяжелая жидкость. При этом зерна заполнителя находятся как бы взвешенными в цементном тесте. При перемешивании бетонной смеси возникает эффект гидродинамического давления теста на зерна заполнителя, что объясняет возникновение явления сепарации составляющих бетонной смеси в вязкой изотропной среде цементного теста. Выявлено, что сила тяжести, действующая на частицу заполнителя, стремится к минимальному значению по сравнению с центробежной силой инерции и при движении частицы заполнителя не соударяются друг с другом. Также выявлено, что на заполнитель действует три силы: центробежная сила инерции , направленная вдоль радиуса от оси вращения; сила вязкого трения, направленная против вектора скорости движения частиц заполнителя в цементном тесте; выталкивающая сила, которая аналогична действию силы вязкого трения и архимедовой силы.
Конструкции и изделия кольцевого сечения, центрифугированный бетон, центрифугированная колонна, угловая скорость в период распределения бетонной смеси, гидродинамическое давление, дрейф компонентов бетонной смеси, вариатропная структура
Введение. Центрифугированные колонны изготавливают из пластичных бетонных смесей, обладающих маркой по подвижности П1 с осадкой конуса 2-3 см. В процессе изготовления по причине действия на частицы бетонной смеси центробежных сил происходит отжим избыточной воды [1-4], которая вытекает из формы в виде шлама, и свежеотформованный бетон обладает достаточной прочностью для транспортировки форм с изделиями к пропарочным камерам.
Для создания вращательного движения применяются центрифуги с приводом от электродвигателей постоянного тока с регулируемыми скоростями. Данное оборудование обеспечивает два режима работы: 1 – распределение бетонной смеси и 2 – ее уплотнение [5].
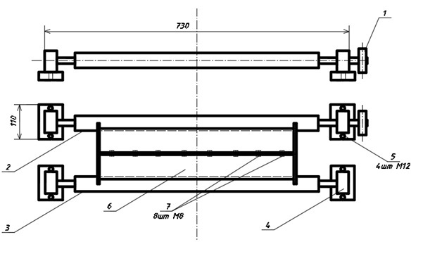
Авторы для своих исследований разработали и применили опытно-лабораторную установку-центрифугу ЦСРЛ-1, оборудованную электродвигателем постоянного тока с тиристорными блоками питания. Это обеспечивает плавное переключение скорости путем изменения частоты вращения вала электродвигателя. Принципиальная схема экспериментальной лабораторной центрифуги ЦСРЛ-1 с формой приведена на рис. 1.

Рис. 1 – Схема экспериментальной лабораторной центрифуги ЦСРЛ-1 с формой:
1 – шкив привода центрифуги; 2 – ведущий опорный каток; 3 – ведомый опорный каток; 4 – упор вала опорной муфты с шарикоподшипником; 5 – крепеж упора к станине (болт М12); 6 – форма; 7 – соединение половинок формы (болт М8).
Основная часть. При изготовлении изделий методом центрифугирования на частицу бетонной смеси действует центробежная сила инерции и сила тяжести (рисунок 2).
Развивающиеся при центрифугировании усилия придают частицам смеси ускорения, пропорциональные массе частиц, квадрату угловой скорости и расстоянию от оси вращения.
Изучая схему приложения усилий к единичной массе при центрифугировании можно сделать следующий вывод: чтобы частицы смеси, поднятые при вращении формы в самое верхнее положение, не отрывались от ее стенок и не падали, необходимо, чтобы сила тяжести частицы
где m – масса частицы бетонной смеси, кг;
ω – угловая скорость частицы,
δ – радиус вращения центра тяжести частицы, м;
Ҁ – вес частицы, Н;
g – ускорение силы тяжести,

Рис. 2 – Элемент сечения стенки колонны
Усилие, действующее на частицу бетонной смеси, определяют как сумму сил
При
= 0, т.е. когда частица будет находиться в верхнем положении,
.
|
|
|

Рис. 3 - Схема к расчету усилия, действующего на частицу бетонной смеси
При
= 180°,
Среднее усилие, действующее на частицу, составит, Н:
Вследствие неравномерного распределения усилия бетонная смесь с нижних точек окружности с усилием
перемещается в верхние точки окружности с усилием
, что обеспечивает растяжение бетона по окружности.
Определим критическую угловую скорость формы, необходимую для удержания частицы бетонной смеси в верхнем положении, рад/с.
или
где
– внутренний диаметр кольцевого элемента, м.
Угловая скорость в период распределения бетонной смеси должна быть минимально необходимой с тем, чтобы предупредить расслоение бетона на составляющие его части вследствие разной величины масс частиц. С учетом свойств бетонной смеси минимально необходимая величина угловой скорости должна быть больше критической в k раз:
или
В период уплотнения бетонной смеси угловая скорость формы определяется исходя из следующего. Выделяют в массе бетонной смеси элементарное кольцо dr, с радиусом
и длиной l = 1. Тогда величина центробежных сил приложенных к кольцу, будет равна, Н:
где dm – масса элементарного кольца, кг;
ω – угловая скорость кольца, рад/с;
l – длина кольца,
g – ускорение силы тяжести,
Отсюда следует следующее выражение:
где R – наружный радиус кольцевого элемента, м;
δ – внутренний радиус кольцевого элемента, м.
Величина удельной центробежной силы на наружной поверхности формуемой колонны, МПа:
Угловая скорость, необходимая в период уплотнения бетонной смеси,
или
Для проверки физической модели движения компонентов бетонной смеси при центрифугировании на лабораторной центрифуге был изготовлен образец кольцевого сечения (рисунок 4б) с базовыми размерами 300х160 мм при толщине стенки 50 мм. Далее образец нарезался алмазным диском на кольца диаметром 160 мм при высоте 50 мм и шлифовался с торцов.
Как видно из рисунка 4а, при уплотнении методом центрифугирования частицы плотнее цементного теста перемещаются к внешней поверхности кольца, менее плотные – к внутренней. Скорость сепарации частиц происходит тем быстрее, чем плотнее и крупнее заполнитель и больше скорость вращения формы. Фактически крупный плотный заполнитель достигает внешней поверхности кольца за 2-3 полных оборота формы (1-1,5 c), т.е. еще при распределении, мелкий же занимает это положение только через 200-205 с.
Именно этой разницей скоростей дрейфа частиц различного размера обуславливается специфическое (вариатропное) строение свежеотформованного центрифугированного бетона, у которого внешний слой образован, в основном, крупным заполнителем с прослойкой цементного теста, а с приближением к внутренней поверхности постепенно возрастает содержание мелких частиц плотного заполнителя и цементного теста.
Согласно полученным данным, для формирования структуры центробежно уплотняемого бетона достаточно 3-3,5 мин, в остальное же время центрифугирования обеспечивается отжатие избыточного количества воды затворения, которое определяется такими технологическими параметрами как подвижность бетонной смеси, поперечные размеры изделия, максимальная скорость вращения центрифуги и др.
По литературным данным установлено, что требуемое качество уплотнения бетонной смеси достигается при давлении

Вывод. Авторами проведено исследование явления гидродинамического давления теста на частицы, составляющие бетонную смесь, используя некоторые расчетные формулы и положения. При этом выявлены следующие аспекты:
- сила тяжести, действующая на частицу заполнителя, стремится к минимальному значению по сравнению с центробежной силой инерции;
- при движении частицы заполнителя не соударяются друг о друга.
Исходя из этих аспектов, можно сделать вывод, что на заполнитель действует три силы: центробежная сила инерции Рn, направленная вдоль радиуса от оси вращения; сила вязкого трения Рm, направленная против вектора скорости движения частиц заполнителя в цементном тесте; выталкивающая сила Рв, которая аналогична действию силы вязкого трения и архимедовой силы.
Центробежное формование пригодно для уплотнения пластичных смесей с невысокой вязкостью, но при этом оно вызывает расслоение бетонной смеси. Чтобы уменьшить его, необходимо повышать вязкость системы и ограничивать верхний предел крупности заполнителей в смеси.
1. Попов А.Н. Производство и применение железобетонных и бетонных труб для напорных и безнапорных трубопроводов. - М., 1975. С. 149.
2. Штаерман Ю.Я. Центрифугированный бетон. - Тифлис, 1933. 107 с.
3. Ахвердов И.Н. Основы физики бетона. - М., 1981. С. 383-392.
4. Ахвердов И.Н. Вопросы теории центробежного формования и уплотнения бетонной смеси. - Республиканское научно - техническое совещание: Технология формования железобетонных изделий, 1979. С. 3-12.
5. Руководство по проектированию, изготовлению и применению железобетонных центрифугированных конструкций кольцевого сечения (НИИЖБ). - М., 1979. С. 47-50, 64-71.
6. Романенко Е.Ю. Высокопрочные бетоны с минеральными пористыми и волокнистыми добавками для изготовления длинномерных центрифугированных конструкций : дис.... канд. техн. наук. Ростов-на-Дону, 1989. 179 с.
7. Петров В.П. Технология и свойства центрифугированного бетона с комбинированным заполнителем для стоек опор контактной сети : дис.… канд. техн. наук. Ростов-на-Дону, 1983. 175 с.



