с 01.01.1987 по настоящее время
Пенза, Пензенская область, Россия
с 01.01.2000 по настоящее время
Пенза, Пензенская область, Россия
с 01.01.2019 по настоящее время
Пенза, Пензенская область, Россия
с 01.01.2019 по настоящее время
Пенза, Пензенская область, Россия
УДК 62 Инженерное дело. Техника в целом. Транспорт
УДК 69 Строительство. Строительные материалы. Строительно-монтажные работы
ГРНТИ 67.01 Общие вопросы строительства
ГРНТИ 67.11 Строительные конструкции
ОКСО 08.04.01 Строительство
ББК 38 Строительство
ББК 308 Монтаж, эксплуатация, ремонт машин и промышленного оборудования
BISAC ARC024000 Buildings / General
Известно, что значения напряжений и распределение последних по глубине в значительной мере зависят от размеров подошвы фундамента и особенно ширины. В статье с целью выбора оптимальной ширины подошвы фундамента и толщины песчаной подушки исследуется влияние ширины подошвы на характер распределения вертикальных напряжений в грунтовом основании на примере фундаментов под металлические трубы. Учитывалось наличие в пределах площадки строительства слабых водонасыщенных глинистых грунтов. Предложены варианты устройства из традиционных призматических свай и фундаментов мелкого заложения на песчаной подушке. проведено технико-экономическое сравнение вариантов. Проанализированы преимущества и недостатки каждого из вариантов. Используя методологию поверочных расчетов при проектировании песчаных подушек произведена оптимизация принятого варианта фундаментов.
решение Буссинеска, напряжения, грунтовая толща, фундамент, металлическая труба, песчаная подушка, нагрузки, изгибающий момент
Особенностью проектирования фундаментов под металлические трубы считается необходимость обеспечения надежности фундаментов при действии на последние значительных горизонтальных нагрузок и изгибающих моментов. При устройстве на предприятии «Апатит» в г.Балаково металлической выхлопной трубы высотой 95,0 м и диаметром ствола 6,0 м имели место весьма значительные горизонтальные нагрузки и изгибающие моменты. Усилия, действующие в уровне верхнего обреза фундамента, представлены на схеме (рис.1) и в таблице. Разработка и исследование условий взаимодействия фундаментов со сложным характером нагружения с грунтовым основанием традиционно считается весьма актуальной задачей [1-5].
Научная новизна настоящей работы заключается в создании условий использования решений Буссинеска о распределении напряжений в грунтовой толще. Согласно указанного решения значения напряжений и распределение последних по глубине в значительной мере зависят от размеров подошвы фундамента и особенно ширины. Используя данное положение авторы исследуют влияние ширины подошвы на характер распределения вертикальных напряжений в грунтовом основании с целью выбора оптимальной ширины подошвы фундамента и толщины песчаной подушки.
Рис.1. Схема нагрузок в уровне верха фундамента
Таблица
|
Вид нагрузки |
Нормативные |
Расчетные |
|
N, кН |
5400,0 |
5900,0 |
|
М, кНм |
16000,0 |
19000,0 |
|
Q, кН |
500,0 |
620,0 |
При выборе варианта фундаментов учитывалось наличие в пределах площадки строительства довольно слабых водонасыщенных глинистых грунтов со следующими основными характеристиками.
С поверхности залегает слой почвенно-растительного и техногенного грунта толщиной до 1,5 м, который не может быть использован в качестве основания фундаментов. Указанный слой подстилается относительно-однородным суглинком мощностью до 15,0 м.
Показатель текучести суглинков изменяется в диапазоне IL =0,4÷0,55, Объемная масса грунта γII =17,5 кH/м3, угол внутреннего трения φ = 140, удельное сцепление с=15,0 кПа, модуль деформации Е=6,0 МПа.
При выборе варианта фундаментов исходили из результатов изучения мирового опыта по данному вопросу. В результате авторы полагают, что наиболее приемлемым в данных грунтовых условиях, с учетом характера и диапазона нагрузок, можно считать вариант из традиционных призматических свай. Однако, площадка строительства располагается внутри действующего предприятия и погружение свай забивкой недопустимо. Применение технологии вдавливания нерационально из-за малого количества свай, порядка 60 шт. При таком объеме свайного поля перебазировка свае-вдавливающей установки в г. Балаково весьма затратно в целом. Сметная стоимость такого варианта оценивалась в 6500,0 тыс. руб.
Авторами предложен вариант фундаментов мелкого заложения на песчаной подушке. Технология устройства указанного фундамента не требует специального оборудования, кроме землеройной стандартной строительной техники.
При проектировании песчаных подушек следует обращать внимание на методологию поверочных расчетов. Главная задача заключается в определении толщины подушки. Толщина назначается из следующих соображений:
-толщина подушки должна быть не менее половины ширины подошвы фундамента;
-должно выполняться условие проверки подстилающего слоя;
-расчетная осадка не должна превышать предельных деформаций основания фундамента.
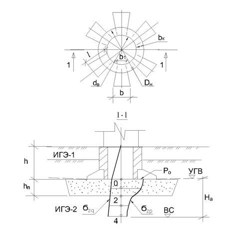
С целью уменьшения толщины подушки, исходя из первого условия, фундамент выполнен из кольцевой и лепестковых частей. Наружный диаметр кольца dн = 12,0 м, а внутренний dв = 6,0 м. Следовательно ширина подошвы кольца 3,0 м.
Лепестковые части фундаменты также имеют ширину bл = 3,0 м. Поэтому минимально допустимая толщина подушки по первому условию hп ≥ 1,5 м (рис. 2).
В настоящем случае оптимизируя принятый вариант фундаментов исходили из удовлетворения условия проверки подстилающего слоя при hп = ½b, где b - наименьшая ширина сечения кольца bк или лепестка bл. Указанное достигнуто путем подбора суммарной площади подошвы круглой части фундамента и лепестковой (рис. 2). В результате расчетов лепестки приняты длиной l=5,0 м и шириной b=3,0 м с общей площадью подошвы Ал.с.= 90,0 м2. Ширина кольцевой части фундамента bк = 3,0 м. Площадь центральной кольцевой подошвы составляет порядка Ац= 90,0 м2. Общая площадь опирания фундаментов на песчаную подушку А=180,0 м2. С учетом глубины заложения подошвы h = 2,5 м общий вес фундамента и грунта на обрезах Qф.гр.= 6250 кН. С учетом нагрузок от трубы и веса фундамента среднее давление под подошвой составляет около 100,0 кПа.
Рис. 2. Расчетная схема осадки фундамента
Особенностью рассматриваемого сооружения является передача на фундамент значительного изгибающего момента. Суммарный изгибающий момент относительно оси симметрии площади подошвы составляет Мo = 17000,0 кНм. В соответствии со схемой нагрузок (рис.1) по известной формуле определены краевые давления на грунтовое основание, которые составили Рmax=208,5 кПа; Pmin=6,1 кПа.
С учетом указанных расчетов запроектирован фундамент со следующими объёмами. Расход бетона 155,0 м3. Объем земляных работ1720,0 м3 и песка 830,0 м3. Общая сметная стоимость устройства фундамента 3900,0 т.р., что в 1,65 раза меньше, чем варианта фундаментов по проекту с применением буровых свай.
Устройство фундаментов и монтаж трубы завершены в марте 2018 г. Геодезические наблюдения за объектом позволяют сделать вывод о надежности принятого варианта фундаментов.
1. Абелев М.Ю., Бахронов Р.Р., Козьмодемьянский В.Г. Новое в устройстве искусственных уплотненных оснований зданий и сооружений на слабых грунтах. Промышленное и гражданское строительство. 2015. № 9. С.76-81.
2. Архипов Д. Н., Евтушенко С. И. Изучение распределения вертикальных напряжений и деформаций в основании сборного ленточного фундамента из балочных элементов // Строительство и архитектура. 2014. №. 1. С. 17-20. DOI: https://doi.org/10.12737/3384 (дата обращения: 30.01.2020).
3. Ежи Сенковски. Проектирование укрепляющих гравийно-песчаных подушек. Известия высших учебных заведений. Строительство. 2004. № 5 (545). С. 127-130.
4. Бабешко Е.С., Захарова М.С. Обзор методов устройства искусственных оснований // Геология в развивающемся мире: сборник научных трудов (по материалам X Международной научно-практической конференции студентов, аспирантов и молодых ученых). В 2-х томах. Ответственный редактор Р.Р. Гильмутдинов. 2017. С. 77-79.
5. Ещенко О.Ю., Волик Д.В. Основание цилиндрического резервуара. Патент на изобретение RUS 2437988 18.05.2010.



