с 01.01.2019 по настоящее время
Южно-Российский государственный политехнический университет (НПИ) имени М.И. Платова (Общеинженерные дисциплины, профессор)
с 01.01.1980 по 01.01.2019
г. Москва и Московская область, Россия
ББК 308 Монтаж, эксплуатация, ремонт машин и промышленного оборудования
В статье приведены принципы совместной работы субподрядных проектных организаций над информационной моделью объекта капитального строительства. Описаны организация среды общих данных, разрабатываемой генподрядной организацией. Описаны задачи BIM менеджера, оптимальная структура папок, и уровни до-ступа к информационной модели участников процесса проектирования.
информационная модель, объект капитального строительства, среда общих данных, проектная организация, жизненный цикл здания
Современные технологии информационного моделирования позволяют использовать возможности проектных организаций территориально рассредоточенных. Субподрядные организации работая над созданием информационной модели объекта капитального строительства должны иметь абсолютно адекватную информацию и для решения оперативных вопросов в настоящее время используется среда общих данных. Организация среды общих данных (СОД) для участников инвестиционно-строительного процесса является одной из наиболее первоочередных задач [2]. Она необходима для получения и редактирования информации в любое время, в любом месте и с любого устройства.
В процессе информационного моделирования на этапе проектирования организацией и администрированием среды общих данных занимаются сотрудники отдела технологий информационного моделирования и системный администратор организации. Именно они определяют, каким методом будет организована среда общих данных, какая будет структура папок, какую роль и доступ к информации будут иметь участники процесса.
В процессе информационного моделирования на разных этапах жизненного цикла здания могут взаимодействовать любое количество участников. Кто именно будет участником СОД, зависит от того, кем она организована.
В современной практике (Рис. 1) распространено создавать среду общих данных на этапе проектирования организацией, которая выступает в роли генерального проектировщика. Данная организация предоставляет доступ заказчику и всем структурным подразделениям в своей организации. Со временем генпроектировщик может подключить неограниченное количество субпроектировщиков, подрядных организаций со стройки, консультантов и членов иных организаций, которые будут выступать в качестве экспертов по лазерному сканированию на объекте капитального строительства.
Вариантов, кто будет являться участником СОД огромное множество. В данном вопросе наибольшее значение играет то, как именно будет развернута среда общих данных, какой уровень доступа будет у участников, какой будет организация структуры папок, будет ли доступ к СОД в любой момент времени.
За организацию среды общих данных должен отвечать BIM-менеджер организации и главный системный администратор. Первой задачей при организации среды общих данных – является организация структуры папок. Данный вопрос уже урегулирован нормативной документацией [1]. Среда общих данных состоит из четырёх разделов, отличающихся уровнем готовности данных и регламентом доступа к ним.

Рис. 1. Органиграмма структуры процессов.
Разделы папок:
- Рабочий;
- Общий;
- Публичный;
- Архивный.
В СОД осуществляется управление данными информационной модели. Существует два последовательных способа управления данными:
- По строительным разделам;
- По разделам прогресса.
Разница в этих способах управления данными небольшая. В первом, структура папок первой итерацией разбивается на строительные разделы, а второй итерацией на разделы прогресса. Во втором всё наоборот.
Способ управления данными по строительным разделам (Рис. 2):

Рис. 2. Структура папок при управлении данными по строительным разделам.
Способ управления данными по разделам прогресса (Рис. 3):

Рис. 3. Структура папок при управлении данными по разделам прогресса.
Среда общих данных может быть организована двумя способами:
- Операционный способ – в качестве среды общих данных выступает какое-либо программное обеспечение;
- Аппаратный способ – среда общих данных организована с помощью технического оборудования (сервера).
Главным отличием двух вариантов организации СОД являются финансовые затраты. Операционный способ требует ежегодных затрат на продление лицензии, а аппаратный крупных разовых затрат на приобретение оборудования.
В качестве операционного способа будет рассмотрена организация СОД с помощью облачного решения BIM360 компании Autodesk [4]. В качестве аппаратного способа будет рассмотрена организация СОД с помощью FTP сервера.
Чтобы организовать среду общих данных, необходимо приобрести облачное решение BIM360 Docs для документооборота с заказчиком, а также BIM360 Design для работы проектировщиков в облачной среде.
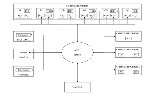
Разработаем схему (Рис. 4) взаимодействия в облачном решении BIM360:

Рис. 4. Схема работы в СОД BIM360.
Проектировщики могут передавать и получать модель из BIM360 в любой момент времени, поэтому они имеют всегда актуальные наработки. Есть возможность подключить команду субпроектировщиков, но в таком случае лицензии буду потеряны. Вопрос передачи лицензий должен обсуждаться на этапе заключения договора с субпроектировщиком. Заказчик также имеет возможность получить все актуальный модели, также он имеет возможность выдавать замечания к каждой модели.
Для каждого из участников процесса можно организовать доступ таким образом, чтобы заказчик мог только просматривать модели, а проектировщик только загружать.
Данный вариант организации СОД очень удобен тем, что позволяет обмениваться самой актуальной информацией в любой момент времени, если есть доступ в сеть Интернет. Он абсолютно не требует технической поддержки, такой как с физическим сервером. Также сервис очень гибкий [3] и может быть адаптирован под потребности организации на платформе Autodesk Forge.
BIM-менеджер для работы в облаке должен сформировать структуру папок по любому из способов (Рис. 5). Также он должен распределить роли среди участников и предоставить каждой роли определенные возможности.

Рис. 5. Структура папок в BIM360.
Возможности ролей в облачном сервисе BIM360:
- Проектировщик:
- Совместная работа;
- Разработка проекта;
- Управление изменениями;
- Координация между разделами проекта.
- Руководитель проекта:
- Статус проекта в режиме реального времени;
- Контроль документации;
- Отчётность и аналитика;
- Контроль над реализацией проекта.
- Производитель работ:
- Распределение работ и надзор за их выполнением;
- Управление проблемами;
- Контроль версий;
- Программы контроля качества и обеспечения безопасности;
- Заказчик:
- Единый архив проекта;
- Оптимальная передача документации;
- Полный обзор проекта;
- Совместный просмотр и доступ.
Рассмотрим вариант аппаратной организации Среды общих данных:
Данный вариант является самым финансово затратным, но самым безопасным с точки зрения хранения данных. Для организации среды общих данных необходимо серверное оборудование, которое, во-первых, очень дорогое, во-вторых, требует постоянного обслуживания, в-третьих, имеет срок службы в среднем восемь лет. Практика приобретения БУ оборудования не распространена, так как срок жизни у такого оборудования мал.
Организация серверного помещения имеет особые требования. Размер серверного помещения выбирается исходя из размера обслуживаемой рабочей области и количества устанавливаемого оборудования. Важно учесть не только размеры самого оборудования, но и способы монтажа, обеспечения доступа и обслуживания оборудования, возможность установки дополнительных устройств.
Разработаем схему (Рис. 6) взаимодействия в аппаратной СОД:

Рис. 6. Схема работы в аппаратной СОД.
Методы организации среды общих данных:
1. Метод совмещения аппаратного и операционного способа организации СОД.
В большинстве случаев [5] проектные организации в своем распоряжении имеют сервер, на котором хранятся все активные и архивные проекты. Все бизнес-процессы организации происходят именно на этом сервере. Процесс информационного моделирования также происходит на физическом сервере.
BIM-менеджер разрабатывает структуру папок. Системный администратор создает эту структуру и раздает права на просмотр, добавление и изменение файлов среди участников процесса в этой структуре. Каждый проектный отдел имеет возможность доступа только к модели своей отдела, доступ к другим запрещен. Все модели и их связи настраивает BIM-отдел организации.
Данная процедура крайне необходима для обеспечения безопасности процесса проектирования. Часты случаи, когда конструктор может зайти в модель архитектора, провести некоторые манипуляции с элементами модели и сохранить её. Тогда качество модели станет низким, появятся коллизии и отклонения от проекта. Следовательно, процесс определения ролей и доступа является стратегическим, так как обеспечивает безопасность моделей.
Процесс разработки модели [6] происходит внутри одной организации в СОД на сервере. Обмен с заказчиком происходит через BIM-отдел организации и облачный сервис BIM360. Работу в СОД можно разбить на несколько этапов:
1) Проектировщики разрабатывают модель в файлах-хранилищах на сервере;
2) BIM-менеджер или BIM-координаторы собирают все файлы-хранилища в определенную структурную папку и подготавливают их к передаче заказчику;
3) Процесс передачи моделей заказчику происходит в двух форматах: «.rvt» и «.nwd». Модели передают в облачный сервис BIM360, также в структурные папки;
4) BIM-координаторы проверяют модель на коллизии, формируют отчет и выкладывают в папку «Опубликовано» для дальнейшей корректировки проектировщиками;
5) Заказчик проверяет модели и в BIM360 выдаёт замечания; 6) ГИП и ГАП получают данные замечания в BIM360 и отправляют на корректировку проектировщикам в отделы.
Таким образом (Рис. 7) происходит организация и администрирование процесса информационного моделирования на этапе проектирования в среде общих данных, которая организована аппаратным и операционным способом.

Рис. 7. Аппаратно-операционная СОД.
2. Метод организация аппаратно-операционного СОД с применением RevitServer.
Данный процесс организации СОД практически ничем не отличается от предыдущего, кроме того, что в него добавляется работа в RevitServer.
Revit Server — это серверное приложение для Autodesk Revit. Он является основным приложением для совместной работы над проектами Revit.
Совместный проект представляет собой модель здания Revit, доступную для открытия и изменения несколькими участниками проекта одновременно. При совместной работе на основе сервера на разных сайтах устанавливается и настраивается несколько экземпляров Revit Server, которым назначаются различные роли, что позволяет оптимальным образом поддерживать совместную работу над проектом в глобальной сети (WAN). Все вместе эти экземпляры Revit Server образуют сеть Revit Server.
Администрированием RevitServer занимается BIM-отдел организации. Управление происходит в вебе. Есть возможность создания папок и их редактирования.
RevitServer служит больше для стабильной работы в файле-хранилище, поэтому если модель занимает большой объем памяти или в неё планируют работать более трех проектировщиков, то её необходимо перенести на RevitServer.

Рис. 8. Аппаратно-операционная c RevitServer СОД.
1. СП 333.1325800.2017 Информационное моделирование в строительстве. Правила формирования информационной модели объектов на различных стадиях жизненного цикла.
2. Семенов А. А., Суханова И. И. Проект BIM-ICE - интеграция BIM в высшее и профессиональное образование // BIM-моделирование в задачах строительства и архитектуры. Материалы III Международной научно-практической конференции. 2020. Издательство: Санкт-Петербургский государственный архитектурно-строительный университет (Санкт-Петербург). С. 372-378.
3. Романович М. А., Всеволжская В. Г., Кузьминых А. Р., Попова Е. М., Перцева А. Е. Опыт создания цифровой модели здания в рамках международной образовательной программы на платформе BIM 360 // BIM- моделирование в задачах строительства и архитектуры. Материалы III Международной научно-практической конференции. 2020. Издательство: Санкт-Петербургский государственный архитектур-но-строительный университет (Санкт-Петербург). С. 362-371.
4. Мальцев В. Л. Опыт решения проблем внедрения BIM-технологий // BIM- моделирование в задачах строительства и архитектуры. Материалы II Международной научно-практической конференции. 2019. Издательство: Санкт-Петербургский государственный архитектурно-строительный университет (Санкт-Петербург). С. 148-152.
5. Букунов А. С., Букунова О. В. Обмен информацией в единой системе при со-здании BIM // BIM- моделирование в задачах строительства и архитектуры. Мате-риалы II Международной научно-практической конференции. 2019. Издательство: Санкт-Петербургский государственный архитектурно-строительный университет (Санкт-Петербург). С. 59-64.
6. Поляков И. С. Оптимизация интерфейса и организация работы BIM // BIM- моделирование в задачах строительства и архитектуры. Материалы Международной научно-практической конференции. 2018. Издательство: Санкт-Петербургский государственный архитектурно-строительный университет (Санкт-Петербург). С. 168-172.




