Ростов-на-Дону, Ростовская область, Россия
Ростов-на-Дону, Ростовская область, Россия
с 01.01.2017 по настоящее время
станица Ленинградская, Краснодарский край, Россия
Ростов-на-Дону, Россия
Ростов-на-Дону, Ростовская область, Россия
Ростов-на-Дону, Ростовская область, Россия
ВАК 05.23.05 Строительные материалы и изделия
УДК 69 Строительство. Строительные материалы. Строительно-монтажные работы
ГРНТИ 67.09 Строительные материалы и изделия
ГРНТИ 67.11 Строительные конструкции
ГРНТИ 67.01 Общие вопросы строительства
ОКСО 08.06.01 Техника и технологии строительства
ББК 383 Строительные материалы и изделия
ББК 385 Строительные конструкции
ББК 308 Монтаж, эксплуатация, ремонт машин и промышленного оборудования
BISAC TEC005000 Construction / General
В данной работе было проведено исследование прочностных и деформативных характеристик вариатропных слоев центрифугированных и виброцентрифугированных бетонов на активированном портландцементе. Механическая активация цемента осуществлялась с помощью специализированного помольного агрегата - шаровая планетарная мельница «Активатор-4М». Предложен оптимальный режим измельчения портландцемента. Для изготовления центрифугированных и виброцентрифугированных образцов была применена экспериментальная лабораторная центрифуга ЦСРЛ-1 с электродвигателем постоянного тока с тиристорными блоками питания, а вибрации формы осуществлялись за счет дополнительно надеваемых на валы шпонок (выступов). Все образцы были изготовлены из бетона одинакового состава. Всего изготовлено и испытано четыре базовых образца кольцевого сечения с размерами: внешний диаметр D = 450 мм; внутренний диаметр отверстия d = 150 мм; общая высота H = 1200 мм. Приведены оптимальные значения технологических параметров центрифугирования и виброцентрифугирования. Предложена схема получения малоразмерных образцов для определения прочностных и деформативных характеристик различных слоев образца путем их выпиливания из общего кольцевого сечения. По результатам проведенного исследования установлено, что активация портландцемента при ее рациональных значениях является оптимальным способом усиления вариатропии.
центрифугированный бетон, виброцентрифугированный бетон, железобетон, активированный портландцемент, дифференциальные характеристики, деформативные характеристики, прочностные характеристики
Введение. Актуальность исследования обусловлена острой проблемой нехватки эффективных строительных железобетонных конструкций – ресурсосберегающих, энергосберегающих и материалоемких по своей сути.
Ранее в наших работах и в исследованиях других авторов были установлены рациональные конструктивные рецептурные и технологические решения касательно центрифугированных и виброцентрифугированных бетонов, имеющих вариатропную структуру и применяемых для полых изделий и конструкций, имеющих кольцевое сечение. Такие конструктивные особенности позволяют, во-первых, более полно использовать преимущества, возникающие вследствие вариатропии бетона при возведении таких конструкций, а во-вторых, снизить материало- энерго- и ресурсоемкость в самой технологической последовательности операций при заводском изготовлении, а также при их монтаже в условиях стройплощадки.
Известно из работ многих авторов о том, что активированный портландцемент, то есть домолотый механическим способом в шаровых мельницах, позволяет существенно повысить качество и характеристики получаемых с его применением изделий и конструкций как бетонных, так и железобетонных и фибробетонных [1-8]. Поэтому ранее в наших работах была выдвинута гипотеза о возможности совмещения активации портландцемента и изготовления железобетонных изделий и конструкций методом центробежного уплотнения с дополнительным вибрированием, то есть виброцентрифугирование [9]. Таким образом, получая вариатропную конструкцию с максимально возможным уровнем вариатропии на современной стадии технологических возможностей и добавив при этом рецептурный аспект в виде активированного тонкодисперсного портландцемента с высоким уровнем удельной поверхности, мы получаем синергетический эффект и, тем самым, влияем на прочностные и иные характеристики получаемых бетонов. Также с учетом того, что в наших работах интерес вызывает именно дифференциация по слоям [10, 11], то есть вариатропия, нас в первую очередь будут интересовать дифференциальные, то есть различающиеся по сечению прочностные характеристики виброцентрифугированных и центрифугированных бетонов. В этой связи была выдвинута гипотеза о том, что дифференциальные прочностные характеристики напрямую будут зависеть от вида применяемого портландцемента.
Таким образом, целью настоящей статьи является выявление роли активации портландцемента в процессе формирования характеристик, центрифугированных и виброцентрифугированных бетонов, а также в выявлении влияния этой активации портландцемента на значения дифференциальных прочностных характеристик.
Таким образом, задача исследования сводится к следующему: обзор и анализ литературы, посвященной повышению качества портландцемента, применяемого при производстве железобетонных изделий и конструкций, анализ работ, посвященных вариатропным конструкциям, постановка целей и задачи исследования, разработка программы методики эксперимента, экспериментальные исследования, формулирование выводов и разработка предложений по практическому внедрению полученных результатов.
Материалы и методы. Механическая активация цемента осуществлялась с помощью специализированного помольного агрегата – шаровой планетарной мельницы «Активатор-4М». Технические характеристики шаровой планетарной мельницы представлены в таблице 1.
Таблица 1. Технические характеристики «Активатор-4М»
|
Наименование показателя |
Единицы измерения |
Показатель |
|
Планетарный диск: - скорость вращения - эффективный диаметр |
об/мин мм |
100–800 400 |
|
Скорость вращения барабанов |
об/мин |
150–1650 |
|
Центробежное ускорение |
м/с2 |
1500 |
|
Барабаны |
шт |
4 |
|
Объем барабана |
мл |
1000 |
|
Загрузка шаров |
г |
600–1400 |
|
Загрузка порошка |
г |
50–400 |
|
Материал: шары |
|
ШХ15СГ |
|
барабаны |
мм |
Ø95×180 |
В качестве вяжущего применялся портландцемент марки ПЦ 400 Д0, в таблице 2 представлены его физико-механические характеристики, а в таблице 3 – его минералогический состав.
Таблица 2. Физико-механические характеристики портландцемента ПЦ 400 Д0
|
Наименование свойства |
Значение |
|
Тонкость помола, проход через сито № 008, % |
95,8 |
|
Удельная поверхность, см2/г |
2988,5 |
|
Нормальная густота цементного теста, % |
26,5 |
|
Сроки схватывания, час:мин -начало - конец |
0:48 4:00 |
|
Предел прочности при сжатии в возрасте 28 суток, МПа |
42,5 |
Таблица 3. Минералогический состав портландцемента
|
Марка цемента |
Минералогический состав, % |
|||
|
C3S |
C2S |
C3A |
C4AF |
|
|
ПЦ 400 Д0 |
64 |
11 |
7,1 |
13,2 |
Режим помола портландцемента марки ПЦ 400 Д0 рекомендуется проводить при следующих параметрах (время помола τ = 2 мин; частота вращения ротора νр = 35 Гц).
Для изготовления центрифугированных и виброцентрифугированных образцов была применена экспериментальная лабораторная центрифуга ЦСРЛ-1 с электродвигателем постоянного тока с тиристорными блоками питания, принципиальная схема и подробное описание которой представлены в работе [12]. Вибрации формы осуществлялись за счет дополнительно надеваемых на валы шпонок (выступов), на которых вращающаяся форма с бетонной смесью подвергалась дополнительной вибрации [13-15].
В качестве крупного заполнителя применялся гранитный щебень, физико-механические характеристики которого представлены в таблице 4.
Таблица 4. Физико-механические характеристики щебня
|
Фракция |
Насыпная плотность, кг/м3 |
Пустотность, % |
Содержание пылевидных и глинистых частиц, % по массе |
Содержание зерен пластинчатой (лещадной) и игловатой форм, % по масса |
Дробимость, % по массе |
|
5-20 |
1470 |
45,7 |
0,65 |
17 |
12,7 |
В качестве мелкого заполнителя применялся песок кварцевый, физико-механические характеристики которого представлены в таблице 5.
Таблица 5. Физические свойства мелкого заполнителя
|
Плотность, г/см3 |
Насыпная плотность, кг/ м3 |
Модуль крупности |
Пустотность, % |
Водопотребность, % |
|
2,62 |
1480 |
1,4 |
43,3 |
9 |
Для регулирования подвижности бетонных смесей использовался суперпластификатор Muraplast FK 48 в количестве 1,5 % от массы цемента.
Все образцы были изготовлены из бетона одинакового состава, расход материалов на 1 м3 составил: Ц = 520 кг, Щ = 1331 кг, П = 396 кг, В = 193 л.
Всего изготовлено и испытано четыре базовых образца кольцевого сечения с размерами:
- внешний диаметр D = 450 мм;
- внутренний диаметр отверстия d = 150 мм;
- общая высота H = 1200 мм.
Изготовление центрифугированных образцов с активированным и неактивированным портландцементом осуществлялось при следующих значениях параметров центрифугирования: режим разгона и торможения вращения – традиционный; угловая скорость вращения – 156 рад/с; время центрифугирования – 12 мин.
Изготовление виброцентрифугированных образцов с активированным и неактивированным портландцементом осуществлялось при тех же самых значениях параметров центрифугирования и при следующих значениях параметров виброцентрифугирования: высота технологических выступов хомутов – 5 мм; длина технологических выступов хомутов – 20 мм; шаг между технологическими выступами хомутов – 30 мм; режим вибрирования – попеременный. Попеременный режим вибрирования характеризуется тем, что на приводном вале выступы хомутов, надетых на вал с обеих сторон, расположены симметрично и параллельно по отношению друг к другу, а на опорном вале – несимметрично с различным градиентом запаздывания.
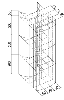
Исследование дифференциальных прочностных и деформативных характеристик центрифугированных и виброцентрифугированных бетонов на активированном портландцементе заключается в определении данных характеристик различных слоев образца. Изготовление малоразмерных образцов для определения прочностных и деформативных характеристик различных слоев образца осуществлялось путем их выпиливания из общего кольцевого сечения, схема получения малоразмерных образцов представлена на рис. 1. Для этой цели из общего кольцевого сечения образца условно был выделен квадрант размером 150х150х150 мм, сечение квадранта делилось на три слоя по 50 см каждый – внешний, средний и внутренний. По высоте образец делился на четыре уровня: первый уровень – выпиливалось 9 кубов размерами 50х50х50 мм, для определения кубиковой прочности при сжатии; второй уровень – 9 призм размерами 50х50х200 мм для определения призменной прочности при сжатии; третий уровень – 9 призм размерами 50х50х200 мм для определения прочности на растяжение при изгибе; четвертый уровень – 9 призм размерами 50х50х200 мм для определения прочности при осевом растяжении.


Рис. 1. Схема получения малоразмерных образцов
Испытания на сжатие и растяжение при изгибе проводились в соответствии с требованиями ГОСТ 10180.
Испытания на осевое сжатие и осевое растяжение проводились в соответствии с требованиями ГОСТ 24452.
Результаты обсуждения. Результаты экспериментальных исследований прочностных и деформативных характеристик вариатропных слоев центрифугированных и виброцентрифугированных бетонов на активированном портландцементе представлены в таблицах 6 – 7 и на рис. 2 – 8.
Таблица 6. Результаты экспериментальных исследований прочностных и деформативных характеристик вариатропных слоев центрифугированных бетонов на активированном портландцементе
|
Центрифугированный бетон |
|||||||||||||
|
На неактивированном портландцементе |
На активированном портландцементе |
||||||||||||
|
Rb.cub, МПа |
Rb, МПа |
Rbt, МПа |
Rbtb, МПа |
EbR, мм/м·10-3 |
EbtR, мм/м·10-4 |
Eb=Ebt, МПа·103 |
Rb.cub, МПа |
Rb, МПа |
Rbt, МПа |
Rbtb, МПа |
EbR, мм/м·10-3 |
EbtR, мм/м·10-4 |
Eb=Ebt, МПа·103 |
|
Внешний слой |
|||||||||||||
|
67,8 |
34,9 |
8,1 |
4,7 |
1,89 |
1,08 |
36,7 |
74,8 |
37,4 |
9,1 |
5,2 |
1,79 |
0,92 |
37,3 |
|
Средний слой |
|||||||||||||
|
42,1 |
21,6 |
5,1 |
3,1 |
2,02 |
1,11 |
32,1 |
44,2 |
23,1 |
5,4 |
3,3 |
1,95 |
1,01 |
33,7 |
|
Внутренний слой |
|||||||||||||
|
30,2 |
15,6 |
3,2 |
2,2 |
2,15 |
1,17 |
27,4 |
33,2 |
16,9 |
3,9 |
2,4 |
2,07 |
1,08 |
28,2 |
Таблица 7. Результаты экспериментальных исследований прочностных и деформативных характеристик вариатропных слоев виброцентрифугированных бетонов на активированном портландцементе
|
Виброцентрифугированный бетон |
|||||||||||||
|
На неактивированном портландцементе |
На активированном портландцементе |
||||||||||||
|
Rb.cub, МПа |
Rb, МПа |
Rbt, МПа |
Rbtb, МПа |
EbR, мм/м·10-3 |
EbtR, мм/м*10-4 |
Eb=Ebt, МПа·103 |
Rb.cub, МПа |
Rb, МПа |
Rbt, МПа |
Rbtb, МПа |
EbR, мм/м·10-3 |
EbtR, мм/м·10-4 |
Eb=Ebt, МПа·103 |
|
Внешний слой |
|||||||||||||
|
69,4 |
35,2 |
8,3 |
4,8 |
1,83 |
0,92 |
37,5 |
78,3 |
39,8 |
9,4 |
5,4 |
1,68 |
0,89 |
38,5 |
|
Средний слой |
|||||||||||||
|
43,8 |
22,3 |
5,3 |
3,3 |
1,97 |
1,01 |
32,1 |
46,8 |
24,6 |
5,6 |
3,5 |
1,85 |
0,95 |
34,2 |
|
Внутренний слой |
|||||||||||||
|
31,9 |
17,8 |
3,4 |
2,4 |
2,10 |
1,21 |
27,4 |
33,2 |
17,9 |
4,0 |
2,5 |
2,05 |
1,06 |
29,1 |

Рис. 2. Зависимость изменения кубиковой прочности вариатропных слоев при сжатии (ЦБ+НПЦ – центрифугированный бетон на неактивированном портландцементе; ЦБ+АПЦ – на активированном портландцементе; ВЦБ+НПЦ – виброцентрифугированный бетон на неактивированном портландцементе; ВЦБ+АПЦ – на активированном портландцементе)

Рис. 3. Зависимость изменения призменной прочности вариатропных слоев при сжатии (см. Рис. 2)

Рис. 4. Зависимость изменения прочности на растяжение при изгибе вариатропных слоев (см. Рис. 2)

Рис. 5. Зависимость изменения прочности при осевом растяжении вариатропных слоев (см. Рис. 2)

Рис. 6. Зависимость изменения предельных деформаций при осевом сжатии вариатропных слоев (см. Рис. 2)

Рис. 7. Зависимость изменения предельных деформаций при осевом растяжении вариатропных слоев (см. Рисунок 2)

Рис. 8. Зависимость изменения модуля упругости вариатропных слоев (см. Рисунок 2)
Проанализировав полученные данные, установлено, что значения прочностных и деформативных характеристик внутреннего, среднего и внешнего слоев центрифугированного бетона на неактивированном портландцементе ниже тех же значений центрифугированного бетона на активированном портландцементе. Данная тенденция наблюдается и у виброцентрифугированных образцов. Максимальные значения прочностных и минимальные значения деформативных характеристик зафиксированы у виброцентрифугированных бетонов на активированном портландцементе. Таким образом совместное влияние технологии виброцентрифугирования и активации портландцемента приводит к заметному улучшению прочностных и деформативных характеристик бетона.
Выводы. По результатам исследования можно сделать следующие выводы. Вариатропностью центрифугированных и виброцентрифугирвоанных железобетонных изделий возможно управлять с помощью активации портландцемента, применяемого при их изготовлении. Активация портландцемента при ее рациональных значениях является оптимальным способом усиления вариатропии и, тем самым, ведет к улучшению характеристик бетона.
Результаты проведенного исследования рекомендуются к применению в промышленном и гражданском строительстве при проектировании и расчете строительных конструкций, изготовленных из железобетонных изделий кольцевого сечения с вариатропной структурой и при промышленных технологиях производства таких изделий, в нормативно-технических документах на расчет, проектирование и изготовление таких конструкций, для условий стройплощадки и для применения в учебно-методических документах при изучении дисциплин по технологии железобетонных изделий.
1. Баженов Ю.М. Современная технология бетона [Текст] / Ю.М. Баженов // Технологии бетонов. - 2005. - № 6. - С. 6-8.
2. Федюк Р.С. Современные способы активации вяжущего и бетонных смесей [Текст] / Р.С. Федюк, А.В. Мочалнов, В.С. Лесовик // Вестник Инженерной школы ДВФУ. - 2018. - № 4(37). - С. 85-99. DOI:https://doi.org/10.5281/zenodo.2008670.
3. Saadoon T. New predictive methodology for the apparent activation energy and strength of conventional and rapid hardening concretes / T. Saadoon, B. Gómez-Meijide, A. Garcia // (2019) Cement and Concrete Research 115, pp. 264-273. DOI:https://doi.org/10.1016/j.cemconres.2018.10.020.
4. Williamson T. The role of activating solution concentration on alkali-silica reaction in alkali-activated fly ash concrete / T. Williamson, M.C.G. Juenger M.C.G. // (2016) Cement and Concrete Research 83, pp. 124-130. DOI:https://doi.org/10.1016/j.cemconres.2016.02.008.
5. Buttress A. Microwave processing of cement and concrete materials - towards an industrial reality / A. Buttress, A. Jones, S. Kingman // (2015) Cement and Concrete Research 68, pp. 112-123. DOI: 0.1016/j.cemconres.2014.11.002.
6. Прокопец B.C., Лесовик В.С. Производство и применение дорожно-строительных материалов на основе сырья, модифицированного механической активацией [Текст]. - Белгород: Изд-во БГТУ, 2005. - 264 с.
7. Ibragimov R.A. Effect of mechanochemical activation of a binder on the properties of fine-grained concrete [Текст] / R.A. Ibragimov R.A., S.I. Pimenov, V.S. Izotov // Magazine of Civil Engineering. - 2015. - №2. - pp. 63-69. DOI:https://doi.org/10.5862/MCE.54.7.
8. Зайченко Н.М., Халюшев А.К., Стельмах С.А., Щербань Е.М., Нажуев М.П., Чернильник А.А. Способ поверхностного модифицирования цемента // Пат. на изобретение 2715276 Россия, МПК С04В 40/02. - № 2019138010; заявл. 25.11.2019; опубл. 26.02.2020, Бюл. № 6.
9. Маилян Л.Р. Влияние технологии производства на структурообразование и свойства бетона виброцентрифугированных колонн [Текст] / Л.Р. Маилян, С.А. Стельмах, М.Г. Холодняк, Е.М. Щербань, А.К. Халюшев // Строительство и архитектура. - 2017. - Том 5. - № 4 (17). - С. 224-228.
10. Маилян Л.Р. Рекомендации по учету вариатропии при расчете, проектировании и изготовлении центрифугированных конструкций из тяжелого бетона [Электронный ресурс] / Л.Р. Маилян, С.А. Стельмах, М.Г. Холодняк, А.К. Халюшев, Е.М. Щербань, М.П. Нажуев // Вестник Евразийской науки. - 2018. - №4. URL: https://esj.today/PDF/07SAVN418.pdf.
11. Stel'makh S.A. Theoretical and Practical Aspects of the Formation of the Variational Structure of Centrifuged Products from Heavy Concrete / S. A. Stel'makh, E. M. Shcherban, A.I. Shuyskiy, M.P. Nazhuev // (2018) Materials Science Forum 931, pp. 502-507.
12. Холодняк М.Г. Совершенствование расчета и технологии создания виброцентрифугированных железобетонных колонн с учетом вариатропии структуры: дис. канд. техн. наук [Текст]. - Ростов-на-Дону: ДГТУ, 2020. - 185 с.
13. Нажуев М.П. Влияние технологических факторов на конструктивные характеристики бетона опытных образцов центрифугированных железобетонных колонн кольцевого сечения [Электронный ресурс] / М.П. Нажуев, М.Г. Холодняк, Н.С. Курбанов, Е.Ю. Евлахова, А.К. Халюшев // Вестник Евразийской науки: научный журнал. - 2019. - № 3. URL: https://esj.today/PDF/20SAVN319.pdf.
14. Нажуев М.П. Влияние режимов виброцентрифугирования на свойства получаемых бетонов [Текст] / М.П. Нажуев, П.М. Джамилова, Ф.А. Батаева, З.И. Бакаев, А.Х. Кукаев, А.А. Османов // Вестник Белгородского государственного технологического университета им. В.Г. Шухова. - 2021. - №. 1. - С. 8-19. DOI:https://doi.org/10.34031/2071-7318-2021-6-1-8-19.
15. Нажуев М.П. Управление интегральными деформативными характеристиками бетона за счет варьирования высоты и шага технологических выступов хомутов виброцентрифугирующих устройств [Текст] / М.П. Нажуев, Р.Г. Саркисян, Д.М. Ельшаева, Н.А. Доценко, М.С. Самофалова, Ю.В. Жеребцов // Вестник ПНИПУ. Прикладная экология. Урбанистика. - 2021. - № 1. - С. 108-118. DOI: 10/248666/2227-6858/2021-1-12.



